 |
|
 |
| Автор |
Сообщение
|
Евгений Колчин

Зарегистрирован: Чт 3 Октябрь 2002, 06:26
Сообщения: 10146
Регион: Москва
|
Добавлено:
Вс 2 Март 2008, 21:06
|
  |
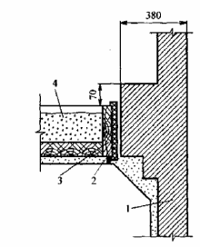
Рассмотрим классическую разделку в 380 от дыма до защищенной конструкции. Предложенные ВДПО расчеты по уменьшению данной величины не рассматриваем.
В СНиП 41-01-2003 регламентирует:
6.6.16 Размеры разделок в утолщении стенки печи или дымохода в месте примыкания строительных конструкций следует принимать в соответствии с приложением К. Разделка должна быть больше толщины перекрытия (потолка) на 70 мм. Опирать или жестко соединять разделку печи с конструкцией здания не следует.
(строка подчеркнутая принята для обсуждения в теме)
Вроде все понятно. Но в интернете и в некоторых бумажных изданиях стала просматриваться тенденция к уменьшению размера 70 мм к плоскости пола второго этажа, при этом приписывается что разделка закрывается негорючим материалом.
Так просматривая Правила производства трубо-печных работ редакции 2001 года (картинка 2) так вроде все по "уму", но заглянем в издание 2006 года.
На странице 79 рис.6.12 видим уже картинку иную (картинка 1), хотя в п.6.9.5 все же говориться о все тех же 70 мм.
Примечание: картинка 1 не точно из Правил, но похожая с интернета.
|
| Описание: |
|
| Размер файла: |
17.92 КБ |
| Просмотров: |
11646 раз(а) |

|
| Описание: |
|
| Размер файла: |
16.25 КБ |
| Просмотров: |
11646 раз(а) |

|
|
|
      |
 |
alekseirubin
Зарегистрирован: Вс 2 Март 2008, 01:48
Сообщения: 165
Регион: Дзержинск
|
Добавлено:
Вс 2 Март 2008, 22:16
|
  |
Уважаемый Евгений, считаю в нашей работе необходимым придерживаться именно на Плавили Трубо-печных работ, а не на неофициальные издания.
Уменьшение разделки на мой взгяд - крайняя мера и должна быть досконально обоснованна и отражена в актах освидетельствования скрытых работ.
|
|
|
|
  |
 |
Евгений Колчин

Зарегистрирован: Чт 3 Октябрь 2002, 06:26
Сообщения: 10146
Регион: Москва
|
Добавлено:
Вс 2 Март 2008, 22:26
|
  |
Наверно не совсем корректно обосновал свое видение.
В Правилах есть запись, что разделка выше уровня пола второго этажа на 70 мм, хотя картинка явно противоречит этому (издание 2006 года). Ширину этой разделки не рассматриваем.
|
_________________ ************************************
|
|
      |
 |
alekseirubin
Зарегистрирован: Вс 2 Март 2008, 01:48
Сообщения: 165
Регион: Дзержинск
|
Добавлено:
Вс 2 Март 2008, 22:38
|
  |
Да, я не понял. Судя по картинке - так, но в этом же параграфе разработчик делает ссылку на СНиПы, Своды Правил, и Альбомы типовых конструкций, которые, практически все без исключения содержат указанный размер.
В своей практике Уменьшаем до предела 3-5 см, стараясь только показать над полом, хотя нормы действительно - ряд кирпича -действуют.
|
|
|
|
  |
 |
Евгений Колчин

Зарегистрирован: Чт 3 Октябрь 2002, 06:26
Сообщения: 10146
Регион: Москва
|
Добавлено:
Вс 2 Март 2008, 22:41
|
  |
т.е вы делает это с учетом усадки строения, выполненного например из дерева
ведь после усадки данный порог уже может и пойти в минус
или это цифра для ж/б строений, стоящих намертво?
|
_________________ ************************************
|
|
      |
 |
alekseirubin
Зарегистрирован: Вс 2 Март 2008, 01:48
Сообщения: 165
Регион: Дзержинск
|
Добавлено:
Вс 2 Март 2008, 23:02
|
  |
Стоящих на мертво, либо упирающихся на перекрытие, консоли, уширения, в основном для труб двух-, одноконтурных, асбоцементных и керамических.
А для кирпичных, в основном, уходят в плюс.
|
|
|
|
  |
 |
Евгений Колчин

Зарегистрирован: Чт 3 Октябрь 2002, 06:26
Сообщения: 10146
Регион: Москва
|
Добавлено:
Вс 2 Март 2008, 23:12
|
  |
т.е в практике строений из дерева (срубы) нет
|
|
|
|
      |
 |
alekseirubin
Зарегистрирован: Вс 2 Март 2008, 01:48
Сообщения: 165
Регион: Дзержинск
|
Добавлено:
Пн 3 Март 2008, 09:49
|
  |
Вы имеете в виду строия ли я деревянные дома, либо предприятие?
Конечно строили, не я конкретно, но не без моего участия.
А если хотели поинтересоваться практикой возведения печей, каминов и дымоходов в деревянных строениях, отвечу развернуто:
Занимаемся мы в основном монтажом печей и топок заводского изготовления, а вот кладку печей делаем редко в виду того, что к нам во первых обращаются редко ( в основном только за исправлением чужих огрехов), а во вторых и спецов хороших сейчас нет. Те, что были, кто спился (везде заказчики наливают), кто уже умер, а вот самый спец наш уже на пенсии и ему 72. Его мы не беспокоим, хотя иногда все же привозим на консультации, с молодежью пообщаться, либо - просто развеяться.
Молодняк воспитываем и уже вроде бы появляются профи, но текучесть кадров большая. Понять еще могу, что бегают в поисках лучшей доли и длинного рубля, но тех, кто работает только до аванса - не понимаю! Дома "семеро по-лавкам" и жена не работает, а он получит 3-5 тысяч и неделю бухает... Такого и выгнать то жалко, и моральные принципы не позволяют. Ведь, когда не пьет, и работник хороший и парень не плохой, а вот тормозов, в плане водки - нет.
А вообще наша основная специализация проверки, прочистки, ремонт и обслуживание дымоходов и вентканалов от газовых приборов. Берем на обслуживание многоквартирные дома, поселки, предприятия...
Ну и монтаж дымовых и вентиляционных каналов при газификации.
Я считаю достаточно описал. Или еще продолжаете сомневаться!?
|
|
|
|
  |
 |
Евгений Колчин

Зарегистрирован: Чт 3 Октябрь 2002, 06:26
Сообщения: 10146
Регион: Москва
|
Добавлено:
Пн 3 Март 2008, 10:18
|
  |
Спасибо, специфику вашего предприятия понял.
|
|
|
|
      |
 |
|
|
|
Следующая тема
Предыдущая тема
Вы не можете начинать темы Вы не можете отвечать на сообщения Вы не можете редактировать свои сообщения Вы не можете удалять свои сообщения Вы не можете голосовать в опросах Вы не можете добавлять приложения в этом форуме Вы можете скачивать файлы в этом форуме
|
|