| Автор |
Сообщение
|
Валерий Петров

Зарегистрирован: Пт 9 Декабрь 2005, 14:33
Сообщения: 1085
Регион: Россия
|
Добавлено:
Чт 22 Март 2007, 09:33
|
  |
При разработке котла столкнулся с вопросом - а можно-ли выводить входной и выходной патрубок регистра на одну сторону котла?
Господа печники, какие на Ваш взгляд преимущества и недостатки у каждого из вариантов?
|
_________________ +7 911 090-08-96 (МТС СПб)
________________________________________
Чтобы получать правильные ответы, научись задавать правильные вопросы...
| Описание: |
|
| Размер файла: |
9.19 КБ |
| Просмотров: |
1229 раз(а) |

|
|
|
     |
 |
Александр Бацулин

Зарегистрирован: Пт 17 Февраль 2006, 19:20
Сообщения: 928
Регион: Москва
|
Добавлено:
Чт 22 Март 2007, 21:23
|
  |
Я сделал вариант Б. Причем заднюю часть сделал немного уже, чем между патрубками (на 2 см), чтобы по всему регистру соблюдался уклон. В варианте а этот уклон можно получить немного перекосив регистр при установке. Все работает. В варианте Б надо продумать крепление, т.к. регистр будет опрокидываться назад. У меня все греется и самоциркулирует.
|
_________________ Здесь могла бы быть ваша реклама.
|
|
   |
 |
Евгений Колчин

Зарегистрирован: Чт 3 Октябрь 2002, 06:26
Сообщения: 10143
Регион: Москва
|
Добавлено:
Чт 22 Март 2007, 21:37
|
  |
Александр. а точно нет застойных зон и котел работает на полную
может качает по первым (последним) веткам ?
как проверить или опровергнуть
|
|
|
|
      |
 |
Александр Бацулин

Зарегистрирован: Пт 17 Февраль 2006, 19:20
Сообщения: 928
Регион: Москва
|
Добавлено:
Чт 22 Март 2007, 22:43
|
  |
Собственно наклон я и делал с тем расчетом, чтобы не было застойных зон. Теперь далее - если допустить, что какая-то из ветвей перегревается, значит подьемная сила в ней возрастает и скорость поэтой ветке увеличивается. Должен быть процесс саморегуляции. (в печи наоборот в опускных самовыравнивание происходит).
Да и во всяких АГВ полно параллельных труб.
А почему должна мощность падать? Главное чтобы он омывался хорошо газами.
И вот еще. Предлагал поставить постедовательно с котлом датчик потока. (разные бывают). И еще если два термрметра на подачу и на обратку, то в любой момент времени можно знать фактическую мощьность котла.
|
_________________ Здесь могла бы быть ваша реклама.
|
|
   |
 |
Евгений Колчин

Зарегистрирован: Чт 3 Октябрь 2002, 06:26
Сообщения: 10143
Регион: Москва
|
Добавлено:
Чт 22 Март 2007, 22:48
|
  |
а если вход и выход по центрам
горизонтальные соотвественно с уклоном к центру
|
_________________ ************************************
| Описание: |
|
| Размер файла: |
1.19 КБ |
| Просмотров: |
1314 раз(а) |

|
|
|
      |
 |
Александр Бацулин

Зарегистрирован: Пт 17 Февраль 2006, 19:20
Сообщения: 928
Регион: Москва
|
Добавлено:
Чт 22 Март 2007, 22:55
|
  |
То же самое, только в профиль. Думою так.
|
_________________ Здесь могла бы быть ваша реклама.
|
|
   |
 |
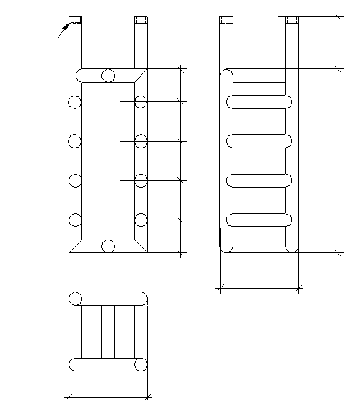
Евгений Колчин

Зарегистрирован: Чт 3 Октябрь 2002, 06:26
Сообщения: 10143
Регион: Москва
|
Добавлено:
Чт 22 Март 2007, 22:56
|
  |
а в таком
|
_________________ ************************************
| Описание: |
|
| Размер файла: |
6.19 КБ |
| Просмотров: |
1393 раз(а) |

|
|
|
      |
 |
Валерий Петров

Зарегистрирован: Пт 9 Декабрь 2005, 14:33
Сообщения: 1085
Регион: Россия
|
Добавлено:
Пт 23 Март 2007, 11:35
|
  |
Мне думается в варианте "Б" и в варианте с размещением входа и выхода по центру возникает разновеликий путь для теплоносителя. Любой процесс идет по пути наименьшего сопротивления.
С точки зрения саморегулирования все правильно - в более нагретых трубах скорость потока будет выше, в менее нагретых ниже. Но это будет постоянное явление, постоянная разница между скоростями потоков в различных трубах регистра. Теплоноситель чистым и однородным не будет практически никогда. Мы ведь не добиваемся специальными методами чистоты теплоносителя , как в в первичном контуре водно-водяного реактора АЭС. Значит в тех местах, где скорость потока низкая, будут накапливаться отложения. Трубы будут зарастать изнутри, их теплопередающие свойства будут снижаться из-за шубы внутри трубы. Нагрев будет все меньшим, скорость потока все более будет замедляться. Процесс закупоривания труб пойдет по нарастающей до момента прекращения циркуляции теплоносителя. Далее будет происходить перегрев закупоренных труб, их деформация, возникновение напряжений в сварных швах. Неравномерное тепловое расширение труб регистра может привести к возникновению сил, способных разрушить кладку. В застойных зонах, на мой взгляд, будет возникать повышенное коррозионное разрушение металла.
Все это может привести к необходимости преждевременного ремонта как регистров, так и котла в целом.
Кто-то, возможно, посчитает невероятным такой сценарий развития событий, а мои предположения параноидальными. Но, как правило, все произошедшие аварии их участникам казались маловероятными. И грамотно сконструированная деталь, снижающая вероятность неполадок - гораздо более разумное решение, чем надежда на авось и пренебрежение теоретической возможностью возникновения неполадок.
Тем более что не так уж и трудно, как я думаю.
|
_________________ +7 911 090-08-96 (МТС СПб)
________________________________________
Чтобы получать правильные ответы, научись задавать правильные вопросы...
Последний раз редактировалось: Валерий Петров (Пт 23 Март 2007, 13:55), всего редактировалось 2 раз(а) |
|
     |
 |
Сергей(Михалыч)

Зарегистрирован: Пт 5 Май 2006, 08:15
Сообщения: 70
Регион: Самара
|
Добавлено:
Пт 23 Март 2007, 12:02
|
  |
Для того что бы не было застойных зон теплообменник должен напоминать M образный только изгибов должно быть больше. Единственное каждый прямую трубу надо будет крепить к кладке, если труба 100 то висячая масса получится большая и сварные швы просто не дыдержат. Ставить перегородки между трубами, я думаю он просто прогорят.
|
|
|
|
  |
 |
Андрей Ищенко
Проектировщик
Зарегистрирован: Вт 7 Февраль 2006, 10:08
Сообщения: 2946
Регион: Пенза
|
Добавлено:
Пт 23 Март 2007, 12:15
|
  |
Таким образом имеем оптимальную форму котла спиралевидную, "змеевик", как у философов - все развивается по-спирали.
|
_________________ +7 962 974-10-94 Viber WhatsApp
+7 962 399-59-39
|
|
     |
 |
Александр Бацулин

Зарегистрирован: Пт 17 Февраль 2006, 19:20
Сообщения: 928
Регион: Москва
|
Добавлено:
Пт 23 Март 2007, 12:26
|
  |
Евгкний, я что-то в последний ваш котел не въеду никак, вы правда такие делаете? или это проект?
Валерию Петрову. В замкнутой системе накипь откладываться не будет (точнее она отложится сколько ее есть) и все. Проблемы с отложениями, когда система проточная,
|
_________________ Здесь могла бы быть ваша реклама.
|
|
   |
 |
Евгений Колчин

Зарегистрирован: Чт 3 Октябрь 2002, 06:26
Сообщения: 10143
Регион: Москва
|
Добавлено:
Пт 23 Март 2007, 13:43
|
  |
Конечно делаем, это змейка с вертикальными упорами.
|
|
|
|
      |
 |
Алексей Гордеев
Зарегистрирован: Вс 13 Январь 2008, 15:52
Сообщения: 1
Регион: Москва
|
Добавлено:
Пн 4 Февраль 2008, 09:37
|
  |
А чего уважаемая публика скажет по поводу такого хм «регистра»?
Габариты 35x45x29 см. нерж. труба Ф 23х1
|
| Описание: |
|
| Размер файла: |
46.15 КБ |
| Просмотров: |
1136 раз(а) |

|
|
|
  |
 |
Евгений Колчин

Зарегистрирован: Чт 3 Октябрь 2002, 06:26
Сообщения: 10143
Регион: Москва
|
Добавлено:
Пн 4 Февраль 2008, 10:55
|
  |
так это для бойлера все же
|
|
|
|
      |
 |
Владимир Жирнов
Зарегистрирован: Пт 12 Май 2006, 23:29
Сообщения: 713
|
Добавлено:
Пн 4 Февраль 2008, 15:35
|
  |
Мне другое напоминает, тока выхода не видно откуда капает.
|
|
|
|
   |
 |
Александр Бацулин

Зарегистрирован: Пт 17 Февраль 2006, 19:20
Сообщения: 928
Регион: Москва
|
Добавлено:
Пн 4 Февраль 2008, 19:30
|
  |
Диаметр маловат для систем отопления.
|
_________________ Здесь могла бы быть ваша реклама.
|
|
   |
 |
Чуриков Александр

Зарегистрирован: Чт 18 Май 2006, 07:25
Сообщения: 2293
Регион: Санкт-Петербург
|
Добавлено:
Пн 4 Февраль 2008, 20:05
|
  |
Я вот хочу в свою печь водогрей вмонтировать. Есть идея использовать какой-то гибкий термостойкий материал-шланг. Для чего ??? Для того, что бы можно было отрегулировать нагрев ёмкости с водой.
|
_________________ +7-921-742-16-92 Услуги печника. Кладка печей, мангалов, банных печей, чертежи
***********************************************************************
|
|
     |
 |
Евгений Колчин

Зарегистрирован: Чт 3 Октябрь 2002, 06:26
Сообщения: 10143
Регион: Москва
|
Добавлено:
Пн 4 Февраль 2008, 20:10
|
  |
в печь регист и на змеевик в бойлер
так у некоторых греется стандартный электрический бойлер, пока работает печь банная
|
|
|
|
      |
 |
Валерий Петров

Зарегистрирован: Пт 9 Декабрь 2005, 14:33
Сообщения: 1085
Регион: Россия
|
Добавлено:
Пн 4 Февраль 2008, 23:35
|
  |
Александр, Вы сказали:
| Цитата: |
| В замкнутой системе накипь откладываться не будет (точнее она отложится сколько ее есть) и все. Проблемы с отложениями, когда система проточная, |
Но систему заполняют не один раз на весь срок службы котла. Если залит антифриз -то может и реже его смена будет происходить, чем воды, но воду сливать и наполнять заново систему хозяин будет при каждом покидании дома больше чем на сутки, вполне возможно что и на каждое лето. таким образом мы получаем как минимум одну, а скорее всего несколько смен воды в системе. лет за десять это будет более 10-ти раз точно. И все соли воды системы, а это может быть не одна тонна, откладываются в одном месте регистра... Может это конечно и не так страшно, но стоит того, что-бы подумать над формой регистра, не правда-ли?
:grin:
|
_________________ +7 911 090-08-96 (МТС СПб)
________________________________________
Чтобы получать правильные ответы, научись задавать правильные вопросы...
Последний раз редактировалось: Валерий Петров (Ср 6 Февраль 2008, 09:36), всего редактировалось 1 раз |
|
     |
 |
Владимир Жирнов
Зарегистрирован: Пт 12 Май 2006, 23:29
Сообщения: 713
|
Добавлено:
Вт 5 Февраль 2008, 15:45
|
  |
Надо Колгейтом пользоваться :grin:
Вооще нефиг в систему воду из водопровода качать.
У нас(в посёлке) скважина для воды пробита в "гдовский горизонт", ни какой накипи нет.
|
|
|
|
   |
 |
|
|