 |
|
 |
| Автор |
Сообщение
|
Леонидыч
Зарегистрирован: Сб 17 Апрель 2010, 14:31
Сообщения: 5
Регион: СПб
|
Добавлено:
Сб 17 Апрель 2010, 15:55
|
  |
Добрый день!
Ищется печник в Ленинградской области.
Требуется печь-камин, дом планируется впоследствии как ПМЖ, сейчас - еженедельными наездами. Печное отопление планируется как основное.
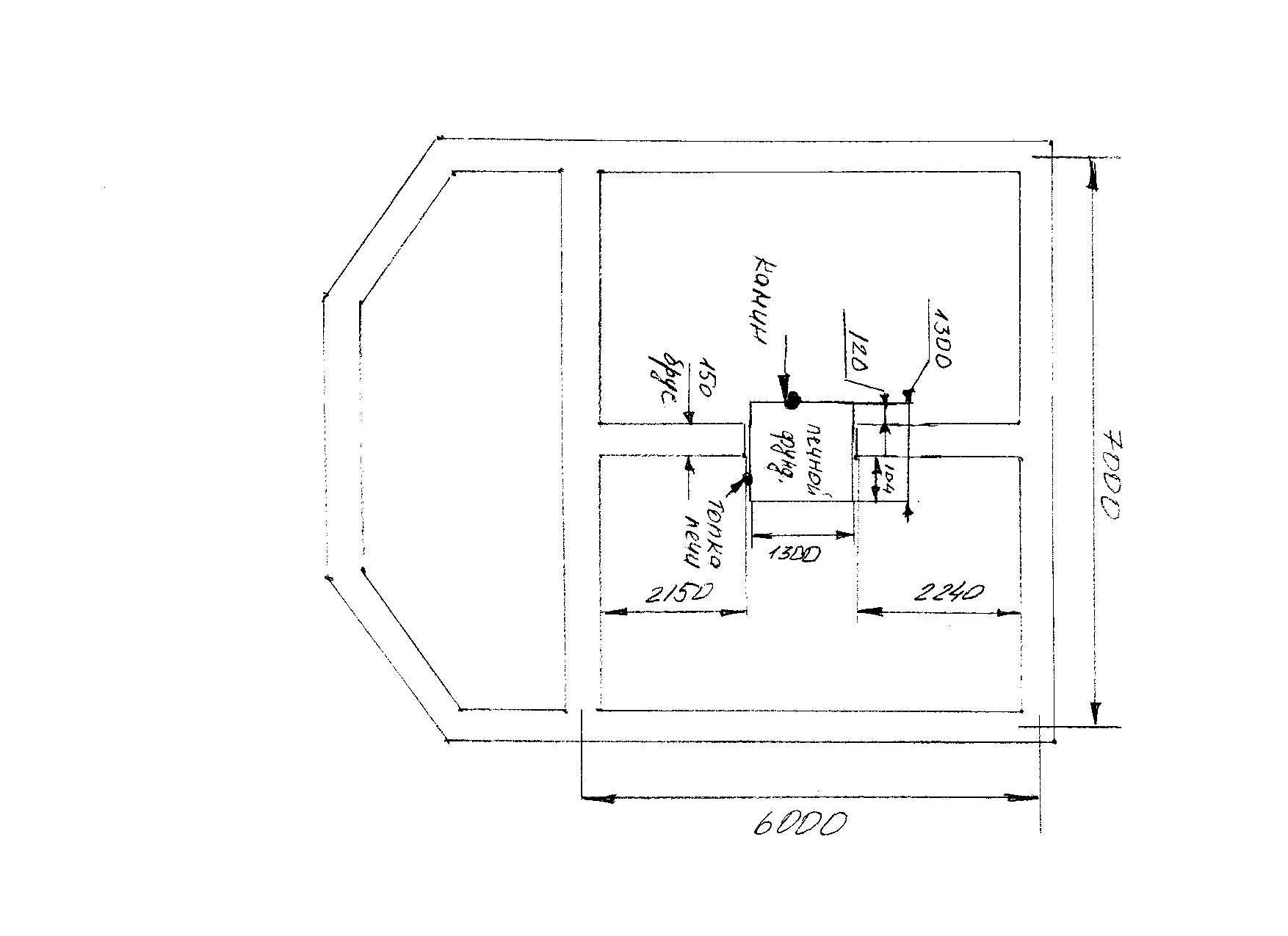
План-схему прилагаю. Фундамент под печь имеется, с основной лентой не завязан, размеры 130*130 см, высота 80 см.
Дом брусовый, 150 мм толщина, высота этажей 260 см, как первый так и второй.
Будет утеплен 100 мм минватой, далее сайдинг.
Крыша - металлочерепица, тоже будет соответствующее утепление.
До конька чуть меньше 7 метров.
Основной вопрос - проект печи-камина и его реализация.
Есть пара печек, которые нравятся чисто внешне, но насколько они функциональны для данной площади - я, как не специалист, судить не могу.
Поэтому - буду рад подсказкам.
Еще один момент - хочется отапливать второй этаж. Т.е. возможен вариант либо кузнецовских транзитных печей, либо - возможность монтажа в дымоход на втором этаже какой-нибудь Ангары.
Ничего не забыл?
Подытожим: 1. Хочется проект печи-камина для данной жилой площади.
2.Его стоимость, работа и материалы.
Начинать можно с середины мая, как дороги откроют.
|
| Описание: |
|
| Размер файла: |
148.68 КБ |
| Просмотров: |
833 раз(а) |

|
|
|
   |
 |
Валерий Петров

Зарегистрирован: Пт 9 Декабрь 2005, 14:33
Сообщения: 1085
Регион: Россия
|
Добавлено:
Сб 17 Апрель 2010, 19:02
|
  |
Камин требуется открытый? Или можно закрытый? И можно обойтись одним топливником.
|
_________________ +7 911 090-08-96 (МТС СПб)
________________________________________
Чтобы получать правильные ответы, научись задавать правильные вопросы...
| Описание: |
|
| Размер файла: |
40.68 КБ |
| Просмотров: |
817 раз(а) |

|
|
|
     |
 |
Леонидыч
Зарегистрирован: Сб 17 Апрель 2010, 14:31
Сообщения: 5
Регион: СПб
|
Добавлено:
Сб 17 Апрель 2010, 22:15
|
  |
Добрый день, вечер, ночь (нужное подчеркнуть)!
Камин требуется открытый. Насчет топливника - уточните, если я правильно понял. Или неправильно. Хочется топить и то и другое одновременно. Причем камин - со стороны камина, а печь - со стороны печи. Именно как на схеме.
|
|
|
|
   |
 |
Валерий Петров

Зарегистрирован: Пт 9 Декабрь 2005, 14:33
Сообщения: 1085
Регион: Россия
|
Добавлено:
Вс 18 Апрель 2010, 08:05
|
  |
Понятно. Просто можно сделать как в приведенном примере - и огонь видно, и топится как печь- с нагревом массива.
Но если есть желание иметь открытый камин и отдельный топливник для нагрева печи - нет никаких проблем в реализации такого решения. Функции только отопительные? ХК не нужна, к примеру?
И если можно - пришлите фотографии того, что Вам понравилось.
| Цитата: |
| Есть пара печек, которые нравятся чисто внешне, но насколько они функциональны для данной площади - я, как не специалист, судить не могу. |
|
_________________ +7 911 090-08-96 (МТС СПб)
________________________________________
Чтобы получать правильные ответы, научись задавать правильные вопросы...
|
|
     |
 |
Леонидыч
Зарегистрирован: Сб 17 Апрель 2010, 14:31
Сообщения: 5
Регион: СПб
|
Добавлено:
Вс 18 Апрель 2010, 12:23
|
  |
Прилагаю картинки.
Вопрос насчет ХК остается открытым, возможно было бы неплохо предусмотреть и эту функцию. А насколько сие удорожает проект?
|
| Описание: |
|
| Размер файла: |
32.85 КБ |
| Просмотров: |
815 раз(а) |

|
| Описание: |
|
| Размер файла: |
75.94 КБ |
| Просмотров: |
785 раз(а) |

|
|
|
   |
 |
Леонидыч
Зарегистрирован: Сб 17 Апрель 2010, 14:31
Сообщения: 5
Регион: СПб
|
Добавлено:
Пн 19 Апрель 2010, 19:58
|
  |
|
   |
 |
Михаил Мирошниченко

Зарегистрирован: Пн 4 Январь 2010, 17:53
Сообщения: 95
Регион: выборг ленинградская обл.
|
Добавлено:
Вт 20 Апрель 2010, 14:23
|
  |
| Леонидыч писал(а): |
| Ну вот... И тишина... |
А что Вы хотите услышать? Предположительную стоимость камино-печи?
|
_________________ +7 960 273 08 01
+7 921 365 17 90
печи, камины, дымоходы.
|
|
    |
 |
Леонидыч
Зарегистрирован: Сб 17 Апрель 2010, 14:31
Сообщения: 5
Регион: СПб
|
Добавлено:
Вт 20 Апрель 2010, 16:34
|
  |
Странно слышать такое... Иначе - зачем я здесь?
Изначально я хотел узнать ответы на 2 вопроса: какой проект для отопления указанной площади подойдет и какова его стоимость.
Я что-то не так спрашиваю? Или, может быть не там?
Мне вообще-то печник нужен был, а не свободное время на форуме провести.
Если здесь критично озвучивать цены, то моя электронная почта alg_11@mail.ru, аська 48680513.
|
|
|
|
   |
 |
vova230
Зарегистрирован: Ср 24 Март 2010, 00:20
Сообщения: 811
Регион: Беларусь
|
Добавлено:
Вт 20 Апрель 2010, 16:45
|
  |
| Леонидыч писал(а): |
Странно слышать такое... Иначе - зачем я здесь?
Изначально я хотел узнать ответы на 2 вопроса: какой проект для отопления указанной площади подойдет и какова его стоимость.
Я что-то не так спрашиваю? Или, может быть не там?
Мне вообще-то печник нужен был, а не свободное время на форуме провести.
Если здесь критично озвучивать цены, то моя электронная почта alg_11@mail.ru, аська 48680513. |
Про цены есть тема: http://www.forum.stovemaster.ru/viewtopic.php?t=2091
А что касается конкретной печи, то либо считайте сами, либо делайте заказ конкретному печнику, который и озвучит для вас стоимость его работы.
Так например я в Ленинград не поеду, а значит и говорить о своих расценках по этой печи не вижу смысла.
Возможно если вы сами озвучите ту сумму, которую вы планируете потратить на строительство этой печи, то кого-то эта сумма и заинтересует.
|
|
|
|
   |
 |
Михаил Мирошниченко

Зарегистрирован: Пн 4 Январь 2010, 17:53
Сообщения: 95
Регион: выборг ленинградская обл.
|
Добавлено:
Вт 20 Апрель 2010, 17:59
|
  |
Пока по выбору конструкции. Вы хотите открытый камин в одну комнату и совмещенную с камином отопительную или отопительно-варочную с боковой топочной дверкой! У Вас фундамент 1300, убираем 250 на противопожарную разделку - остается 1050. Если делать портал камина на всю ширину, то визуально он смотреться будет, но тепла в комнате особого не будет, это же не печь. Тем более вы планируете там жить постоянно. Кроме лучистого тепла от открытого огня тепла больше не будет. Облицовочная часть в открытом камине не греется.
Если выпускать часть стенки отопительной печи в комнату, где расположен портал камина , то какой же получится портал камина? Игрушечный! На камин это мало будет похоже.
По моему каминопечь самый нормальный вариант. Зайдите на сайт и посмотрите в разделе каминопечи.
|
_________________ +7 960 273 08 01
+7 921 365 17 90
печи, камины, дымоходы.
|
|
    |
 |
Валерий Петров

Зарегистрирован: Пт 9 Декабрь 2005, 14:33
Сообщения: 1085
Регион: Россия
|
Добавлено:
Ср 21 Апрель 2010, 07:58
|
  |
Сезон-с, работа. не каждый день в сети, потому задержки с ответами.
А про камин - все правильно. греть облицоска и декоративные элементы не будут. Будут греть боковые стенки, и внутренние поверхности портала. Но камино-печь - наиболее целесообразный вариант.
|
_________________ +7 911 090-08-96 (МТС СПб)
________________________________________
Чтобы получать правильные ответы, научись задавать правильные вопросы...
|
|
     |
 |
|
|
|
Следующая тема
Предыдущая тема
Вы не можете начинать темы Вы не можете отвечать на сообщения Вы не можете редактировать свои сообщения Вы не можете удалять свои сообщения Вы не можете голосовать в опросах Вы не можете добавлять приложения в этом форуме Вы можете скачивать файлы в этом форуме
|
|