| Автор |
Сообщение
|
wprilepski
Зарегистрирован: Ср 26 Сентябрь 2007, 11:44
Сообщения: 196
Регион: прага
|
Добавлено:
Сб 8 Март 2008, 22:26
|
  |
Печь каркасная с керамической облицовкой.
|
| Описание: |
|
| Размер файла: |
116.56 КБ |
| Просмотров: |
2124 раз(а) |

|
|
|
       |
 |
Паша

Зарегистрирован: Ср 28 Ноябрь 2007, 23:35
Сообщения: 369
|
Добавлено:
Вс 9 Март 2008, 00:04
|
  |
Многим дачникам нужна похожая печь для обогрева небльших помещений. К сожалению культура изготовления таких печек утрачена.
|
|
|
|
  |
 |
wprilepski
Зарегистрирован: Ср 26 Сентябрь 2007, 11:44
Сообщения: 196
Регион: прага
|
Добавлено:
Вс 9 Март 2008, 00:15
|
  |
А чего морочится берете и делаете.Тем более,что в данном варианте не нужны изразцы,плитка керамическая 30х30см.или побольше.
|
|
|
|
       |
 |
Паша

Зарегистрирован: Ср 28 Ноябрь 2007, 23:35
Сообщения: 369
|
Добавлено:
Вс 9 Март 2008, 00:23
|
  |
А внутренности , неужели она внутри ровная , без ничего?
|
|
|
|
  |
 |
wprilepski
Зарегистрирован: Ср 26 Сентябрь 2007, 11:44
Сообщения: 196
Регион: прага
|
Добавлено:
Вс 9 Март 2008, 00:45
|
  |
Приблизительно так.Вообщетоэтих конструкций больше.
|
| Описание: |
|
| Размер файла: |
79.94 КБ |
| Просмотров: |
1939 раз(а) |

|
|
|
       |
 |
Паша

Зарегистрирован: Ср 28 Ноябрь 2007, 23:35
Сообщения: 369
|
Добавлено:
Вс 9 Март 2008, 00:53
|
  |
Схема этой печи не совпадает с фотографией. На фото 2 дверки...
Если есть возможность пришлите ещё конструкции для раздумий. Может осчастливить какого нибудь дачника такой печуркой...
|
|
|
|
  |
 |
wprilepski
Зарегистрирован: Ср 26 Сентябрь 2007, 11:44
Сообщения: 196
Регион: прага
|
Добавлено:
Вс 9 Март 2008, 00:59
|
  |
Могут быть два варианта.
1. наверху духовка.
2.печка расчитана на уголь.
Оба вариатта имеют место быть.
|
|
|
|
       |
 |
Евгений Колчин

Зарегистрирован: Чт 3 Октябрь 2002, 06:26
Сообщения: 10143
Регион: Москва
|
Добавлено:
Вс 9 Март 2008, 01:04
|
  |
для духовки будет маловато места в таких размерах, там похоже 500х500 мм примерно
в таком размере можно сделать печь Грум-Гржимайло, печь МВМС, печь Колеватова, печь Кузнецова
вот если расширить еще на 1/2 кирпичика, то можно и Протопопова
вроде у Резника что то было
|
|
|
|
      |
 |
wprilepski
Зарегистрирован: Ср 26 Сентябрь 2007, 11:44
Сообщения: 196
Регион: прага
|
Добавлено:
Вс 9 Март 2008, 01:21
|
  |
Вчера доделал легкую печь однооборотку в мастерской.Правда использовал не каркас ,а старые изразцы.сфотографирую опубликую.
|
|
|
|
       |
 |
Паша

Зарегистрирован: Ср 28 Ноябрь 2007, 23:35
Сообщения: 369
|
Добавлено:
Вс 9 Март 2008, 02:01
|
  |
Можно вопрос по другому поставить. Есть ли возможность ,усилив деревянный пол какойто плитой ,сделать на ней лёгкую кирпичную мини- печь для отопления одной комнаты (альтернативу буржуйке) ?. Каркас из уголка позволяет облегчить саму печь.
|
|
|
|
  |
 |
wprilepski
Зарегистрирован: Ср 26 Сентябрь 2007, 11:44
Сообщения: 196
Регион: прага
|
Добавлено:
Вс 9 Март 2008, 02:10
|
  |
Деревянный пол выдержит печь весом 250-300 кг и больше.Т.е наш случай-каркасные печи.
|
|
|
|
       |
 |
wprilepski
Зарегистрирован: Ср 26 Сентябрь 2007, 11:44
Сообщения: 196
Регион: прага
|
Добавлено:
Вс 9 Март 2008, 11:05
|
  |
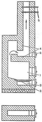
Печь на фото насыпная длительного горения.Собственно это высокая топка с зубом на верху.Через верхнею дверку печь в насыпают горючий материал:угли ,куски дерева ,щепки,бумагу,картон,и.т.д Поджигают сверху.Время горения,около 6 часов.Во время работы печи не рекомедуется лезть вовнутрь.
|
| Описание: |
|
| Размер файла: |
108.75 КБ |
| Просмотров: |
1838 раз(а) |

|
|
|
       |
 |
Михаил Маркин
Зарегистрирован: Чт 9 Март 2006, 20:47
Сообщения: 606
Регион: Владимир
|
Добавлено:
Вс 9 Март 2008, 11:34
|
  |
Скажите wprilepski , такую печь лучше делать без поддувала(подувую)? Или поддувало на момент розжига, а далее за счёт вторички?
|
|
|
|
    |
 |
Паша

Зарегистрирован: Ср 28 Ноябрь 2007, 23:35
Сообщения: 369
|
Добавлено:
Вс 9 Март 2008, 11:50
|
  |
Вторая печка точно может получиться из 120-150 печных кирпичей.
Наверное нужна прочистка для верха того "каминного зуба".
Но напоминает по внуртенносям буржуйку. Вот если бы чуть больше дымовых каналов вверху... То что насыпная , с высокой топкой очень хорошо для садоводов .
А если наоборот : длинная горизонтальная топка ?.....
|
|
|
|
  |
 |
wprilepski
Зарегистрирован: Ср 26 Сентябрь 2007, 11:44
Сообщения: 196
Регион: прага
|
Добавлено:
Вс 9 Март 2008, 11:59
|
  |
Печка с поддувалом.Для закладки две дверки ,когда прогорает удобно работать с нижней.Печька имеет размеры 400х400х1400мм. толшина кирпичь в четверть.
Верхний колпак съемный,там подкерамическим куполом кухонная плита на чайник.
По поводу дымоходов это уже другая печь будет.
Если сделать топку горизонтально,так зтож русская печь.
|
|
|
|
       |
 |
Паша

Зарегистрирован: Ср 28 Ноябрь 2007, 23:35
Сообщения: 369
|
Добавлено:
Вс 9 Март 2008, 16:58
|
  |
| wprilepski писал(а): |
Если сделать топку горизонтально,так зтож русская печь. |
А может не русская печь , а печь-варочная плита , но в уменьшенном варианте и без железки наверху ?
|
|
|
|
  |
 |
wprilepski
Зарегистрирован: Ср 26 Сентябрь 2007, 11:44
Сообщения: 196
Регион: прага
|
Добавлено:
Вс 9 Март 2008, 17:49
|
  |
Если не нравится русская вот вам еше вариант. Место распространения Альпы.
Кстати с кухонной плитой согласен,но это отдельная тема.
|
| Описание: |
|
| Размер файла: |
139.64 КБ |
| Просмотров: |
1786 раз(а) |

|
|
|
       |
 |
Паша

Зарегистрирован: Ср 28 Ноябрь 2007, 23:35
Сообщения: 369
|
Добавлено:
Вс 9 Март 2008, 21:11
|
  |
Горизонтальную печь можно использовать как лежанку , табуретку , столик.
Вот поискал в ин-те компактные , но это печи для отопления теплиц.
|
| Описание: |
|
| Размер файла: |
41.31 КБ |
| Просмотров: |
1849 раз(а) |

|
|
|
  |
 |
Паша

Зарегистрирован: Ср 28 Ноябрь 2007, 23:35
Сообщения: 369
|
Добавлено:
Вс 9 Март 2008, 21:12
|
  |
И ещё одна :
|
| Описание: |
|
| Размер файла: |
25.11 КБ |
| Просмотров: |
1889 раз(а) |

|
|
|
  |
 |
wprilepski
Зарегистрирован: Ср 26 Сентябрь 2007, 11:44
Сообщения: 196
Регион: прага
|
Добавлено:
Вс 9 Март 2008, 22:55
|
  |
Это уж далеко от темы. Мне хочется обсудить малогаборитные ,легкие печи.
|
|
|
|
       |
 |
|
|