| Автор |
Сообщение
|
dimbmw
Зарегистрирован: Вс 13 Февраль 2011, 23:24
Сообщения: 20
Регион: Moscow
|
Добавлено:
Вс 13 Февраль 2011, 23:29
|
  |
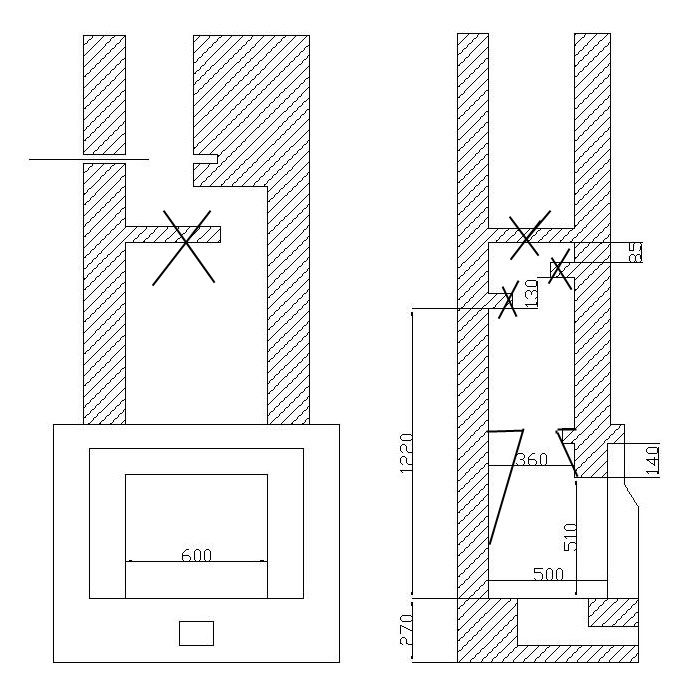
Доброго времени суток уважаемые специалисты
Достался мне вместе с домом такой камин - беззубый
Залез в него весь перемазался - нарисовал чертеж в масштабе в автокаде
Поставил не все размеры - но масштаб верный
Попытаюсь тут выложить:
Теперь о грустном - от камина тянет в помещение Хоть и совсем немного.
Что с ним не так? Я посмотрел и-нет - вроде у большинства каминов зуб есть на задней стенке - у моего нету.
Подозрения вызывают "полочки" внутри дымохода - может они создают завихрения и дым обратно выходит?
Из мыслей - попробовать сделать из нержавейки что-то типа зуба.
Пожалуйста, посоветуйте как быть
|
|
|
|
  |
 |
Александр Шалагин

Зарегистрирован: Пт 2 Январь 2009, 18:00
Сообщения: 1348
Регион: Москва
|
Добавлено:
Вс 13 Февраль 2011, 23:45
|
  |
Зуб можно сделать из нержавейки, повесить с помощью штырей. Горловина должна быть 10-12см., для увеличении скорости газам в 2-3 раза и дым уже в дом не пойдет.
|
_________________ г. Москва, МКАД, 43-й километр, вл1
Печки-Лавочки
| Описание: |
|
| Размер файла: |
130.13 КБ |
| Просмотров: |
892 раз(а) |

|
|
|
    |
 |
dimbmw
Зарегистрирован: Вс 13 Февраль 2011, 23:24
Сообщения: 20
Регион: Moscow
|
Добавлено:
Вс 13 Февраль 2011, 23:51
|
  |
| Александр Шалагин писал(а): |
Зуб можно сделать из нержавейки, повесить с помощью штырей. Горловина должна быть 10-12см., для увеличении скорости газам в 2-3 раза и дым уже в дом не пойдет.  |
Александр, сорри - но те элементы которые Вы перечеркнули - я не смогу добраться и убрать - их придется оставлять.
Кстати - вот в этой статье тоже есть такие уступы http://www.kamicenter.ru/articles/index.php?article=902 - они типа ограничивают сверху "газовую камеру". Уж не знаю даже.
У меня конкретный вопрос по зубу - какой должен быть его угол, в каком месте он должен начинаться и в каком заканчиваться? Или нужно просто примерно как Вы нарисовали попытаться воспроизвести плюс-минус? Спасибо!
Ну и последний вопрос - какой толщины нержавейку взять и вообще где ее берут? На строй рынках не попадалась - может плохо смотрел.
|
|
|
|
  |
 |
Александр Шалагин

Зарегистрирован: Пт 2 Январь 2009, 18:00
Сообщения: 1348
Регион: Москва
|
Добавлено:
Пн 14 Февраль 2011, 00:14
|
  |
Там другие уступы для газовой камеры, если труба меньшего сечения.
У Вас их придется делать, если труба 140х140
Зуб в этих случаях, делают из 3мм. нержавейки.
|
_________________ г. Москва, МКАД, 43-й километр, вл1
Печки-Лавочки
|
|
    |
 |
dimbmw
Зарегистрирован: Вс 13 Февраль 2011, 23:24
Сообщения: 20
Регион: Moscow
|
Добавлено:
Пн 14 Февраль 2011, 00:50
|
  |
| Александр Шалагин писал(а): |
Там другие уступы для газовой камеры, если труба меньшего сечения.
У Вас их придется делать, если труба 140х140
Зуб в этих случаях, делают из 3мм. нержавейки. |
Я не знаю какого у меня сечения труба. А они помешают если их (уступы) оставить? Просто я действительно не смогу залезть туда чтобы их спилить
|
|
|
|
  |
 |
Boris759
Зарегистрирован: Ср 9 Февраль 2011, 08:36
Сообщения: 272
Регион: Belarus
|
Добавлено:
Пн 14 Февраль 2011, 07:29
|
  |
Если как на рисунке то не проблема ломиком снизу выбить, главное лом туда всунуть,
|
|
|
|
  |
 |
dimbmw
Зарегистрирован: Вс 13 Февраль 2011, 23:24
Сообщения: 20
Регион: Moscow
|
Добавлено:
Пн 14 Февраль 2011, 08:47
|
  |
| Boris759 писал(а): |
Если как на рисунке то не проблема ломиком снизу выбить, главное лом туда всунуть,  |
Я понимаю, просто если наличие/отсутствие этих уступов не критично, я бы предпочел их оставить. Поэтому я и спрашиваю- чем они мешают.
|
|
|
|
  |
 |
Михаил Немов

Зарегистрирован: Ср 19 Ноябрь 2008, 01:09
Сообщения: 291
Регион: Москва Зеленоград
|
Добавлено:
Пн 14 Февраль 2011, 22:48
|
  |
| dimbmw писал(а): |
Теперь о грустном - от камина тянет в помещение Хоть и совсем немного.
Что с ним не так? Я посмотрел и-нет - вроде у большинства каминов зуб есть на задней стенке - у моего нету.
Подозрения вызывают "полочки" внутри дымохода - может они создают завихрения и дым обратно выходит?
Из мыслей - попробовать сделать из нержавейки что-то типа зуба.
Пожалуйста, посоветуйте как быть
 |
Для начала-прочистить дымоход, и полочки (верхние грани),потом-исключить подсос воздуха из-под колосника,только с портала.Критична также высота горизонтального канала над верхней полкой
|
_________________ Строить печи правильно-приятно во всех отношениях! Зеленоград 8-926-262-83-79 www.stovestroy.ru
|
|
    |
 |
dimbmw
Зарегистрирован: Вс 13 Февраль 2011, 23:24
Сообщения: 20
Регион: Moscow
|
Добавлено:
Вт 15 Февраль 2011, 12:43
|
  |
Вы не могли бы пояснить смысл этих полочек? А то тут их вроде советовали выбить
|
|
|
|
  |
 |
Михаил Немов

Зарегистрирован: Ср 19 Ноябрь 2008, 01:09
Сообщения: 291
Регион: Москва Зеленоград
|
Добавлено:
Вт 15 Февраль 2011, 18:19
|
  |
Если горизнтальный канал ниже 28 см.(там,где задвижка),то наначение неизвестно-сносить можно
Если выше-то отсекает нисходящие холодные потоки с трубы,чистить нужно.
Снести-не строить,Стоит ли менять бензобак,если он опустел?
начните с простого.
|
_________________ Строить печи правильно-приятно во всех отношениях! Зеленоград 8-926-262-83-79 www.stovestroy.ru
|
|
    |
 |
Валентин Стрибук

Зарегистрирован: Чт 17 Июль 2008, 18:53
Сообщения: 636
Регион: Москва
|
Добавлено:
Вт 15 Февраль 2011, 19:02
|
  |
Ломать в последнюю очередь.
Нет исходных данных:
1. Если растопить камин, что будет? Нужен опыт эксплуатации.
2. Камин стоит в помещении, где "второй свет? Или из этого помещения лестница на 2 этаж?
3. Какая труба и как относительно конька?
|
_________________ 9164865048@mail.ru ... Вернём русскую печь в Россию через барбекю
|
|
     |
 |
pe4ka
Зарегистрирован: Ср 23 Сентябрь 2009, 17:36
Сообщения: 1918
Регион: Туймазы
|
Добавлено:
Ср 16 Февраль 2011, 15:30
|
  |
Поступи так-сделай факел из плотной ткани купи жидкость для розжига барбекю и приготовь сухую щепу.Прогрей хорошо дымоход 5минут.Открой входную дверь и посмотри на факел-он будет гореть веселей.ПОДОЖГИ ЩЕПУ и смотри-если сквозняк помогает горению то наблюдай на закрытие двери.Если камин работает при открытой входной двери с улицы то в твоем случае он ЗАДЫХАЕТСЯ ОТ НЕДОСТАТКА ВОЗДУХА.Ищи пути подачи воздуха в помещение.И обязательно посмотри чтобы были закрыти двери ванная кухня туалет-возможно есть обратная тяга.Посмотри на работу камина при открытом окне.Пока ничего не ломай.Сообщи размер портала и сечение трубы и ее высоту. Высота колпака над трубой должна быть не менее 20-25см.Утепли трубу и температура газа увеличится на выходе.ПРРОВЕРЬ герметичност трубы по всей длине.На ней только камин должен быть. С ув. Наиль -Башкирия
|
_________________ окажу консультации по кладке печей каминов и их ремонту д51055 код8-34782 сот 8-9173752622 г.Туймазы башкирия
|
|
   |
 |
dimbmw
Зарегистрирован: Вс 13 Февраль 2011, 23:24
Сообщения: 20
Регион: Moscow
|
Добавлено:
Чт 17 Февраль 2011, 10:40
|
  |
| Валентиныч писал(а): |
Ломать в последнюю очередь.
Нет исходных данных:
1. Если растопить камин, что будет? Нужен опыт эксплуатации.
2. Камин стоит в помещении, где "второй свет? Или из этого помещения лестница на 2 этаж?
3. Какая труба и как относительно конька? |
По пунктам:
Если растопить, то немного коптит над порталом, ну и в зале чувствуется дыма запах
Да, второй свет, и приличная площадь (50+ м2). Окна приоткрываю при топке.
Труба кирпичная - как на чертеже - проходит прямо по центру дома через конек и возвышается над ним. Думаю что общая длина не менее 6 метров.
|
|
|
|
  |
 |
Валентин Стрибук

Зарегистрирован: Чт 17 Июль 2008, 18:53
Сообщения: 636
Регион: Москва
|
Добавлено:
Чт 17 Февраль 2011, 12:18
|
  |
| dimbmw писал(а): |
Если растопить, то немного коптит над порталом, ну и в зале чувствуется дыма запах |
Здесь возможно действительно не хватает зуба (импровизированный зуб не справляется), либо дымит только в начале, пока не прогрелась труба. Это первый аспект, не зависимый от второго.
| dimbmw писал(а): |
Да, второй свет, и приличная площадь (50+ м2). Окна приоткрываю при топке.
Труба кирпичная - как на чертеже - проходит прямо по центру дома через конек и возвышается над ним. Думаю что общая длина не менее 6 метров. |
А здесь второй аспект. При наличии "второго света" - он сам как бы является тёплой трубой, причём действующей (либо щели вентиляции, либо щёлочки в верхних окнах). Поэтому "равноденствующей" трубой для камина является только разница длин трубы камина и второго света.
А теперь сравним их. Каминная вроде бы на метр выше, но она вся охлаждена наружным воздухом, поступающим в трубу всё больше и больше.
Если поставить задвижку на уровне потолка второго света, то небольшая положительная тяга будет определяться этим холодным метром трубы, остальная труба при этом согрета, как внутренняя конструкция дома.
Рецепты:
-организовать закрываемую заслонку с балкона второго света поближе к потолку (вполне можно "вдолбиться", правда мусора и пыли много),
-либо придумать "закрывашку" оголовка трубы, управляемую тросиком..
После этого решать первый аспект - если всё нормализовалось. то каминное устройство вполне удовлетворительно.
Явление холодного дутья из НЕЗАЖЖЁННОГО камина - очень частое явление в помещении "второго света", а также при наличии единого стояка лестничных прогонов - своеобразной трубы.
Именно поэтому (смотрите английские фильмы) Трубы на замках неимоверно длинные, торчат метров по 5 над крышей.
Это плоды моих размышлений, после того как отказался делать камин на готовую трубу, из которой сифонило морозным воздухом.
|
_________________ 9164865048@mail.ru ... Вернём русскую печь в Россию через барбекю
|
|
     |
 |
dimbmw
Зарегистрирован: Вс 13 Февраль 2011, 23:24
Сообщения: 20
Регион: Moscow
|
Добавлено:
Сб 12 Март 2011, 13:44
|
  |
АПДЕЙТ ситуации...
поставил зуб - все как советовали на картинке выше... выбили зачеркнутые элемены...
камин что-то горит плоховато
сечение дымохода 25 на 20 см в месте где заслонка - а дальше около крыши 14 см х 14 см....
размер портала - вроде получается маловат - 60 см ширина и 50 см высота - то есть или маловата или на пределе (если учесть что в литературе советуют соотношение площадей 0.1 - 0.15)
смущает такой момент - щель между "зубами" сделал 12 см - то есть по площади щель 12 см х 60 см ширины портала = 720 см2 - а сечение дымохода 25 см х 20 см = 500 см2 - то есть после зуба идет как бы сужение опять при переходе в дымоход.... работает ли при этом зуб вообще ??? может нужно чтобы площадь сечения в районе зуба была не более площади сечения дымохода??? тогда щель надо около 8 см!!! чтобы 8х60=480 см2 < 500см2 дымохода
а дальше к выходу из трубы вообще сужение трубы 140 на 140 не понятно что делать
HEEEELP
|
|
|
|
  |
 |
vova230
Зарегистрирован: Ср 24 Март 2010, 00:20
Сообщения: 811
Регион: Беларусь
|
Добавлено:
Сб 12 Март 2011, 15:22
|
  |
Сечение дымохода мало. Надо увеличить.
|
|
|
|
   |
 |
Андрей_Алексеевич

Зарегистрирован: Пн 13 Декабрь 2010, 19:17
Сообщения: 5980
Регион: малая родина Павлова, Скобелева, Циолковского, Уткиных и др.
|
Добавлено:
Сб 12 Март 2011, 16:36
|
  |
| dimbmw писал(а): |
Теперь о грустном - от камина тянет в помещение Хоть и совсем немного.
Что с ним не так? Я посмотрел и-нет - вроде у большинства каминов зуб есть на задней стенке - у моего нету.
Подозрения вызывают "полочки" внутри дымохода - может они создают завихрения и дым обратно выходит?
Из мыслей - попробовать сделать из нержавейки что-то типа зуба.
Пожалуйста, посоветуйте как быть
 |
Вам по-крупному не повезло с приобретением...
При такой компоновке трубы относительно портала открытого камина, ДЗ должен быть не только возле задней стенки топливника, но и под трубой - слева! Г - образный...
Да и труба 14х14 для площади этого портала мала - не менее 18х18...
Сверху портала, через уплотнитель, можно закрепить жаропрочное стекло, декорировав его орнаментом, либо лист металла с чеканкой (НЕ ПРОСЕЧНОЙ!!!)
|
_________________ Печник - милостью и промыслом Божиим.
Печное отопление частного дома и т.п., авторское сопровождение проектов, наставничество в т.ч. дистанционное, партнёрство в кладке печей.
89106130763 МТС
andrejka61@mail.ru
andrej.kuzmischev@yandex.ru
|
|
   |
 |
dimbmw
Зарегистрирован: Вс 13 Февраль 2011, 23:24
Сообщения: 20
Регион: Moscow
|
Добавлено:
Сб 12 Март 2011, 20:32
|
  |
Остается загадкой нафига было к коньку сузить сечение трубы до 14х14, когда рамка шибера 20х25 - завтра полезу на крышу разбираться
Возможно придется снять пару листов металлочерепицы и переложить трубу чтобы убрать сужение
|
|
|
|
  |
 |
Виктор_А

Зарегистрирован: Чт 6 Январь 2011, 17:01
Сообщения: 850
Регион: МО г.Серпухов
|
Добавлено:
Сб 12 Март 2011, 21:28
|
  |
Трубу однозначно перекладывать
|
|
|
|
    |
 |
|
|