 |
|
 |
| Автор |
Сообщение
|
baren
Зарегистрирован: Вт 25 Август 2015, 08:55
Сообщения: 3
Регион: kashin
|
Добавлено:
Вт 25 Август 2015, 09:01
|
  |
Всем доброго дня!
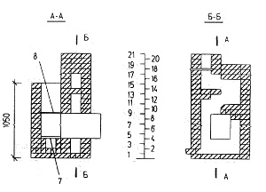
Построил печь каменку с нижним расположением бака, (чертеж и порядовку взял на сайте русская баня, рисунок прилагаю)камни открытые на чугунной плите. Вчера сделал первую топку с камнями (камни из Волги) камни очень плохо нагреваются вода кипит, много от нее пара, но самое главное почему плохо греются камни?
|
| Описание: |
|
| Размер файла: |
45.56 КБ |
| Просмотров: |
630 раз(а) |

|
| Описание: |
|
| Размер файла: |
24.74 КБ |
| Просмотров: |
637 раз(а) |

|
|
|
  |
 |
Мангилев Сергей
Зарегистрирован: Сб 15 Октябрь 2011, 16:09
Сообщения: 978
Регион: Советск
|
Добавлено:
Вт 25 Август 2015, 09:30
|
  |
Почему всегда на оборот, сначала построил, потом выложил. Вам бы и так сказали что камни грется не будут.
|
|
|
|
     |
 |
baren
Зарегистрирован: Вт 25 Август 2015, 08:55
Сообщения: 3
Регион: kashin
|
Добавлено:
Вт 25 Август 2015, 09:41
|
  |
|
  |
 |
Мангилев Сергей
Зарегистрирован: Сб 15 Октябрь 2011, 16:09
Сообщения: 978
Регион: Советск
|
Добавлено:
Вт 25 Август 2015, 10:01
|
  |
| baren писал(а): |
| А почему, в чем ошибка? |
Печь не ту выбрали. Есть несколько проверенных, банных печей, которые постоянно обсуждаются, вносятся изменения. На плите ток суп сварить да картошку потушить, чем там нагреть груду камня? Вся печь заточена на нагрев воды ДГ омывают почти весь бак.
|
|
|
|
     |
 |
Мангилев Сергей
Зарегистрирован: Сб 15 Октябрь 2011, 16:09
Сообщения: 978
Регион: Советск
|
Добавлено:
Вт 25 Август 2015, 10:04
|
  |
Там нормально ток наоборот бак на плиту, а камни в яшик с под воды.
|
|
|
|
     |
 |
Игорь_242
Зарегистрирован: Ср 19 Август 2015, 18:09
Сообщения: 15
Регион: Красноярск
|
Добавлено:
Вт 25 Август 2015, 18:42
|
  |
| Мангилев Сергей писал(а): |
| baren писал(а): |
| А почему, в чем ошибка? |
Печь не ту выбрали. Есть несколько проверенных, банных печей, которые постоянно обсуждаются, вносятся изменения. На плите ток суп сварить да картошку потушить, чем там нагреть груду камня? Вся печь заточена на нагрев воды ДГ омывают почти весь бак. |
Подскажите правильную печь такого варианта, у тестя на даче похожая, время менять подходит, пора искать лучший вариант.
|
|
|
|
  |
 |
Мангилев Сергей
Зарегистрирован: Сб 15 Октябрь 2011, 16:09
Сообщения: 978
Регион: Советск
|
Добавлено:
Вт 25 Август 2015, 20:01
|
  |
|
     |
 |
Игорь_242
Зарегистрирован: Ср 19 Август 2015, 18:09
Сообщения: 15
Регион: Красноярск
|
Добавлено:
Чт 27 Август 2015, 17:31
|
  |
| Мангилев Сергей писал(а): |
| http://forum.stovemaster.ru/viewtopic.php?t=4777 |
Та печь,насколько я понимаю,с прямым нагревом камней.У тестя камни лежат в чугунном коробе,т.е. непрямой(или как) нагрев камней и он согласен переделать на подобную.
|
|
|
|
  |
 |
|
|
|
Следующая тема
Предыдущая тема
Вы не можете начинать темы Вы не можете отвечать на сообщения Вы не можете редактировать свои сообщения Вы не можете удалять свои сообщения Вы не можете голосовать в опросах Вы не можете добавлять приложения в этом форуме Вы можете скачивать файлы в этом форуме
|
|